Main Dimensions & Performance Data

d

60 mm

D

130 mm

B

46 mm

Cr

310000 N

Cor

310000 N

Cur

29000 N

Reference speed

4200 rpm

Limiting speed

5400 rpm

Mounting dimensions

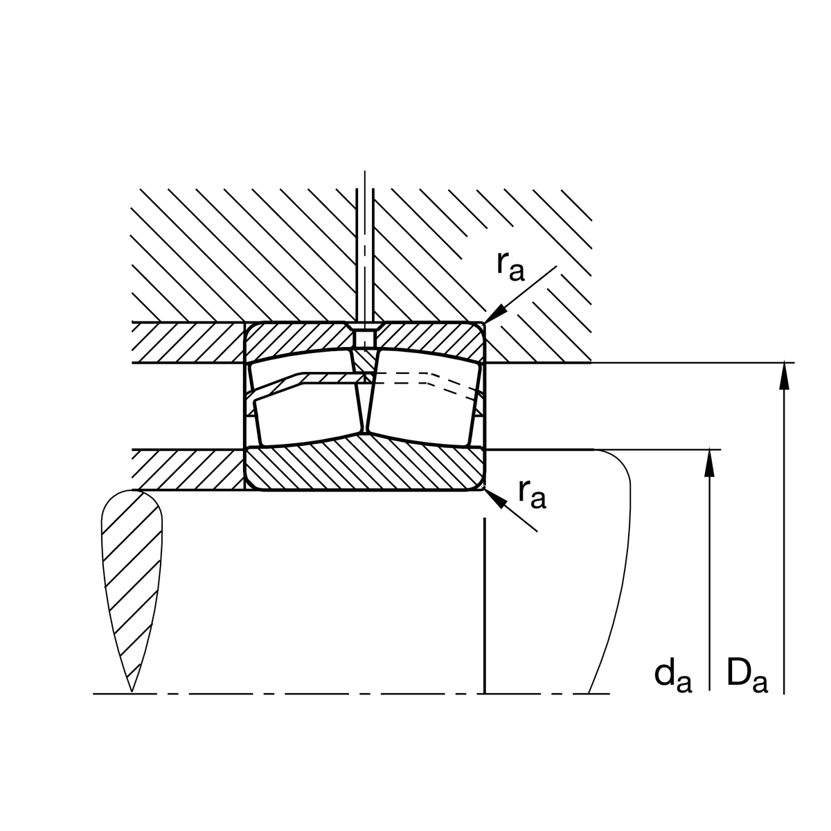
da min

72 mm Shaft shoulder minimum diameter

r min

2.1 mm Minimum chamfer size

D1

110.1 mm Outer ring inner diameter

Da max

118 mm Maximum diameter of housing shoulder

d2

74.8 mm Inner ring raceway diameter

ds

3.2 mm Lubrication hole diameter

ra max

2.1 mm Maximum pocket radius

ns

6.5 mm Lubrication groove width

Temperature range

T min

-30 °C Minimum operating temperature

T max

200 °C Maximum operating temperature

Calculation coefficient

e

0.35 Fa/Fr corresponds to different X and Y coefficients

Y1

1.91 Axial dynamic load factor

Y2

2.85 Axial dynamic load factor

Y0

1.87 Axial static load factor