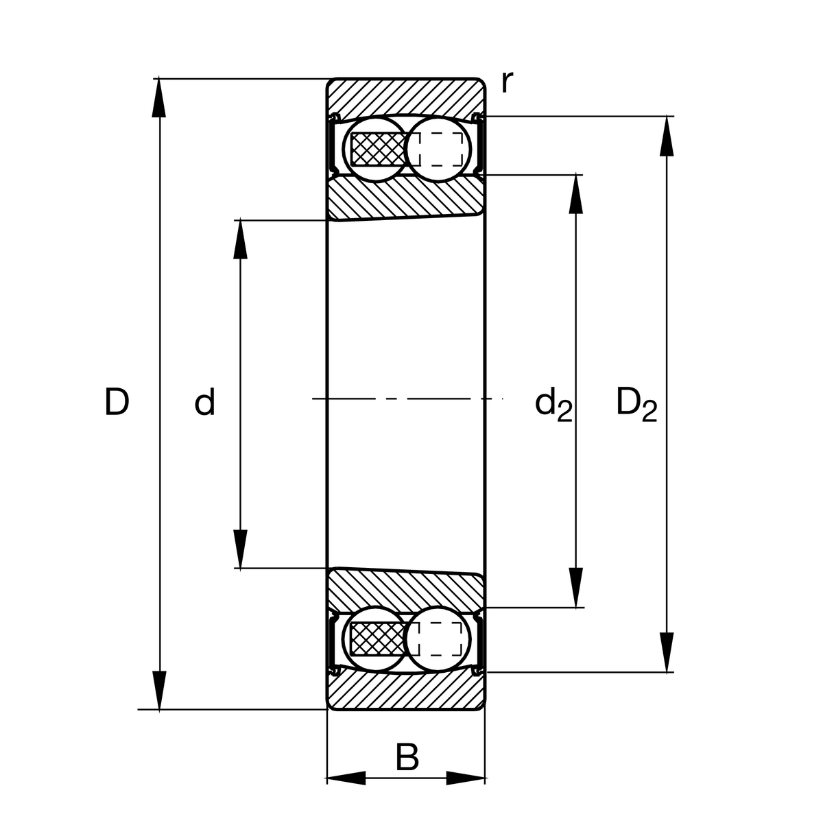
Main Dimensions & Performance Data

d

40 mm

D

80 mm

B

23 mm

Cr

19400 N

Cor

6500 N

Cur

415 N

Limiting speed

4950 rpm

Mounting dimensions

da min

47 mm Shaft shoulder minimum diameter

r min

1.1 mm Minimum chamfer size

da max

52 mm Shaft shoulder IR minimum diameter

Da max

73 mm Maximum diameter of housing shoulder

D2

70.3 mm Pocket to Outer Ring Inner Diameter

db min

43 mm The minimum cavity diameter of the bushing

d2

49.2 mm Thrust washer diameter

Ba min

5 mm Bushing minimum cavity width

ra max

1 mm Maximum pocket radius

Temperature range

T min

-20 °C Minimum operating temperature

T max

100 °C Maximum operating temperature

Calculation coefficient

e

0.22 Fa\/Fr corresponds to different X and Y coefficients

Y1

2.91 Axial dynamic load factor

Y2

4.51 Axial dynamic load factor

Y0

3.05 Axial static load factor