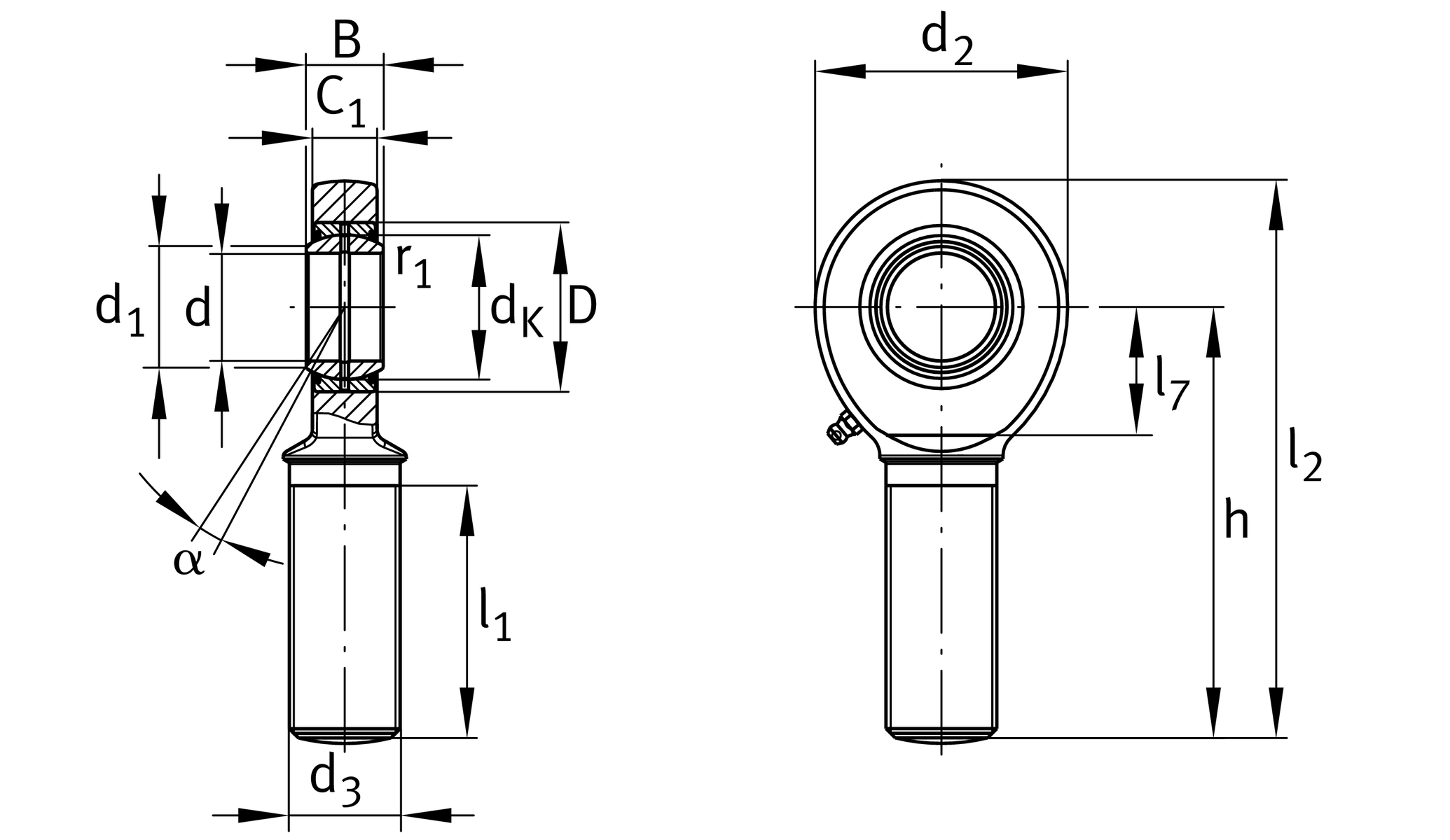
Main Dimensions & Performance Data

d

80 mm

D

120 mm

B

55 mm

Cr

402000 N

Cor

690000 N

Mounting dimensions

dK

105 mm Ball diameter

d1

89.4 mm Inner ring outer flange diameter

d2

180 mm Outer ring diameter

d3

M64x4 thread size

h

270 mm External thread shank length

C1

47 mm Rod end width

α

6 ° inclination

l1

140 mm External thread shank length

l2

360 mm Overall length of male thread head

l7

100 mm Drilling distance with /axis start

r 1smin

1 mm margin

Gr

0,055 - 0,142 mm Radial clearance

dOT

0 mm Bearing inner diameter, upper deviation

dUT

-0.015 mm Bearing inner diameter, lower deviation

BOT

0 mm Inner ring width, upper deviation

BUT

-0.15 mm Inner ring width, lower deviation

Temperature range

T min

-30 °C Minimum operating temperature

T max

130 °C Maximum operating temperature