Japan
Contact
Search Bearing
Engineering Tools
Catalogs & Literature
Model query
Menu
About
CSR
PORTFOLIO
Engineered Bearings
MARKETS
INVESTORS
CAREERS
WORK THAT MATTERS
OUR CULTURE
BENEFITS
NEWS
Home
>
Model
>
Rail slider
PR14032-PP Linear circulating roller bearing assembly
Request Information
Return to list
VIEW CAD DRAWING
View structure diagram
View structure diagram
View structure diagram
DOWNLOADS
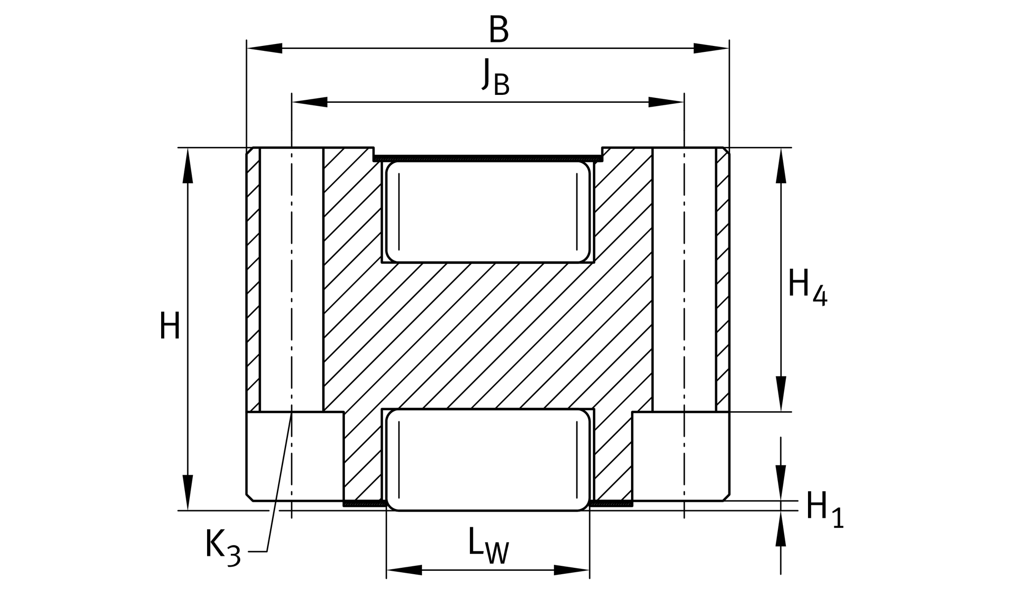
Main Dimensions & Performance Data
B
22.2 mm
H
14.3 mm
Cr
21700 N
Cor
17600 N
Weight
102 g
Mounting dimensions
L1
37.8 mm
JB
17.1 mm
Mounting Dimension
TolJB
±0,1 mm
Tolerance
JL
19.1 mm
Mounting Dimension
TolJL
±0,1 mm
Tolerance
H1
0.1 mm
L2
31 mm
LW
9 mm
H4
10.3 mm
K3
M2,5
Size thread K3
K3MA
1 mm
Tightening Torque fixing screws
D2
3 mm