Main Dimensions & Performance Data

B

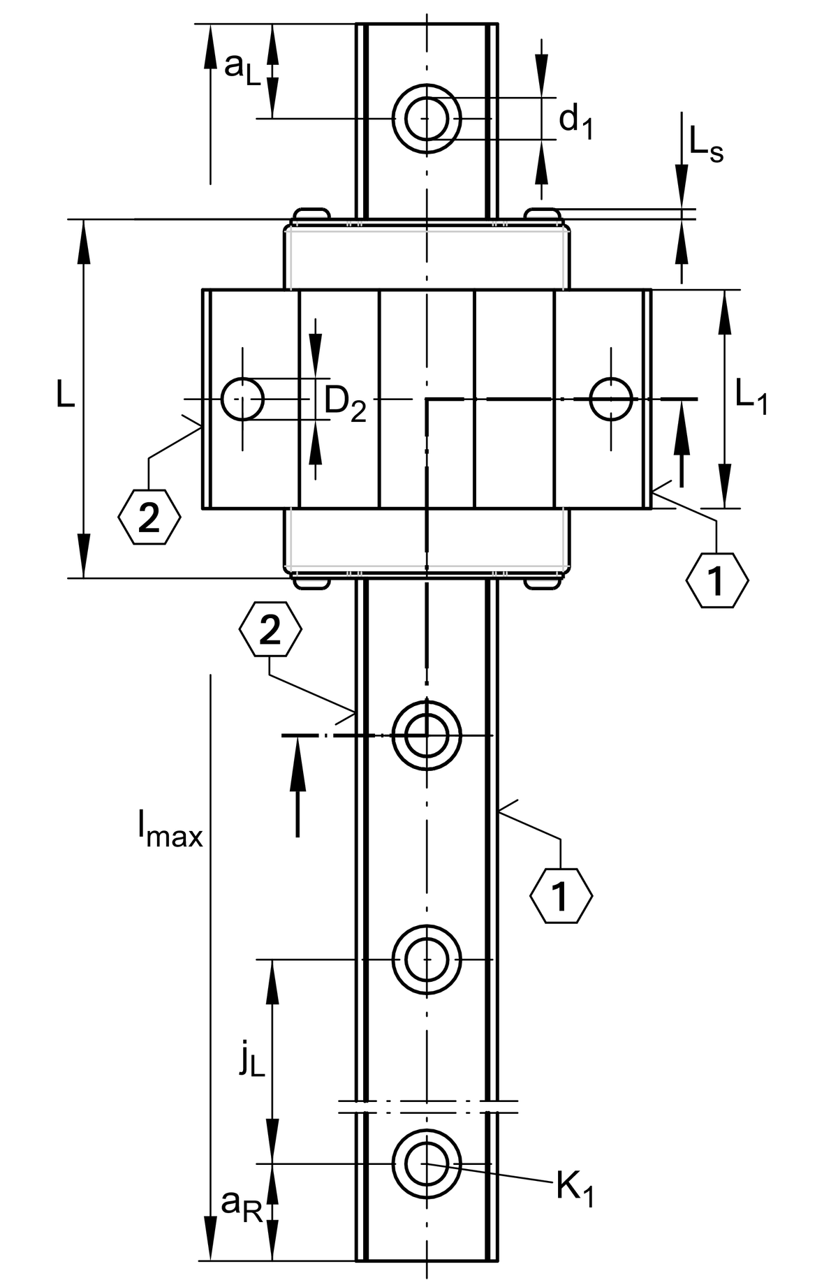
120 mm

L

97.8 mm

H

60 mm

Cr

46500 N

Cor

80000 N

Weight

2.07 g

Mounting dimensions

VMKB_065

KWVE Material name

A1

37.5 mm

JB

100 mm

b

45 mm width rail

A2

10 mm

L1

59.7 mm

LS

2.2 mm

H1

9.7 mm

H4

19.9 mm

H5

9.25 mm

T5

15 mm

K3

M10 fixing screws below (DIN ISO 4762-12.9)

K3MA

83 Nm maximum tightening torque

D2

10.6 mm

A3

16.5 mm position lubrication connector

G3

M6 lubrication connector

tG3

7 mm maximum permissible screw depth for lubrication connectors

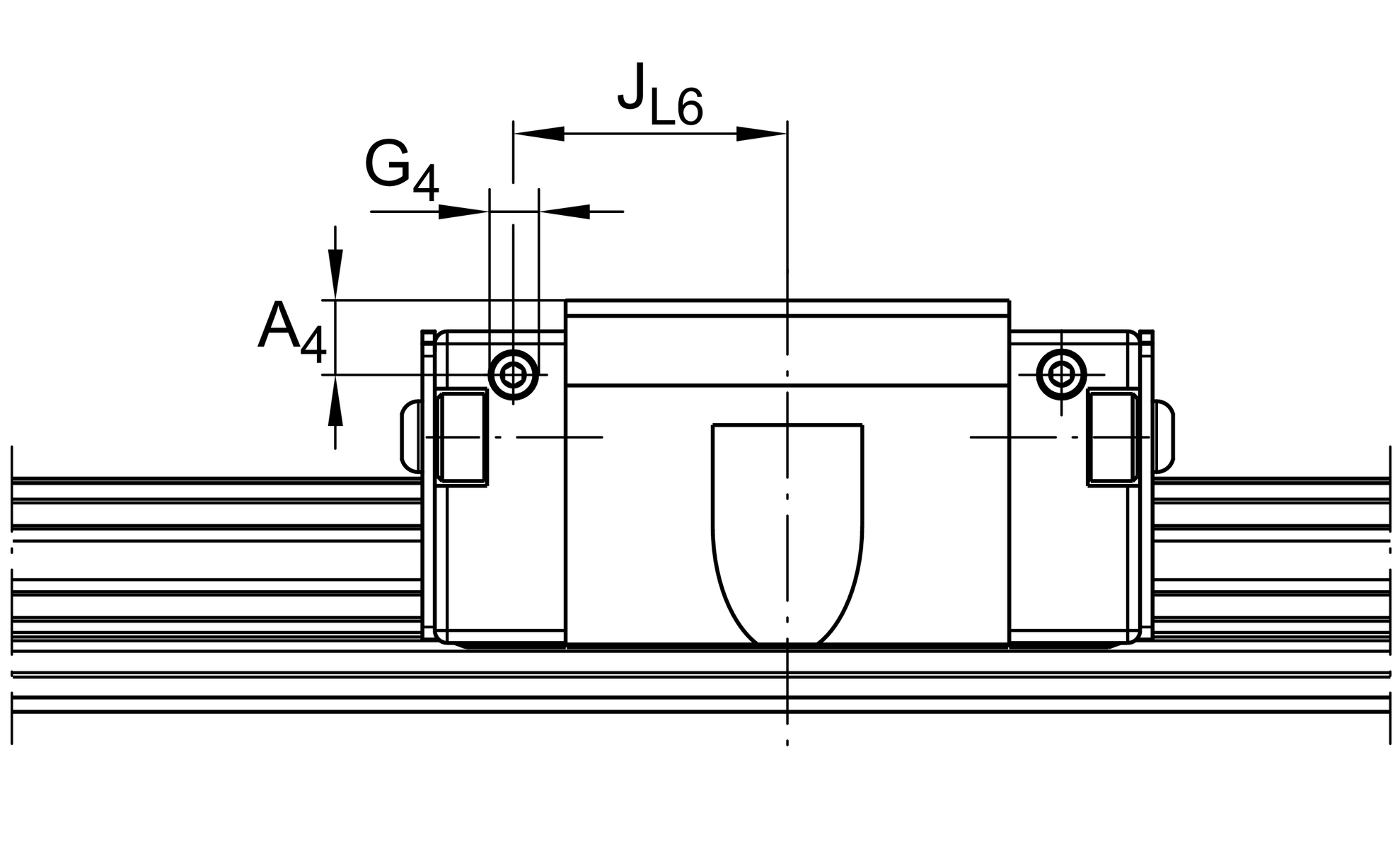
A4

16.5 mm position lubrication connector

G4

M6 mm lubrication connector

tG4

7 mm maximum permissible screw depth for lubrication connectors

JL6

37.9 mm position lubrication connector