Main Dimensions & Performance Data

B

100 mm

L

112 mm

H

48 mm

Cr

38000 N

Cor

72000 N

Weight

1.75 g

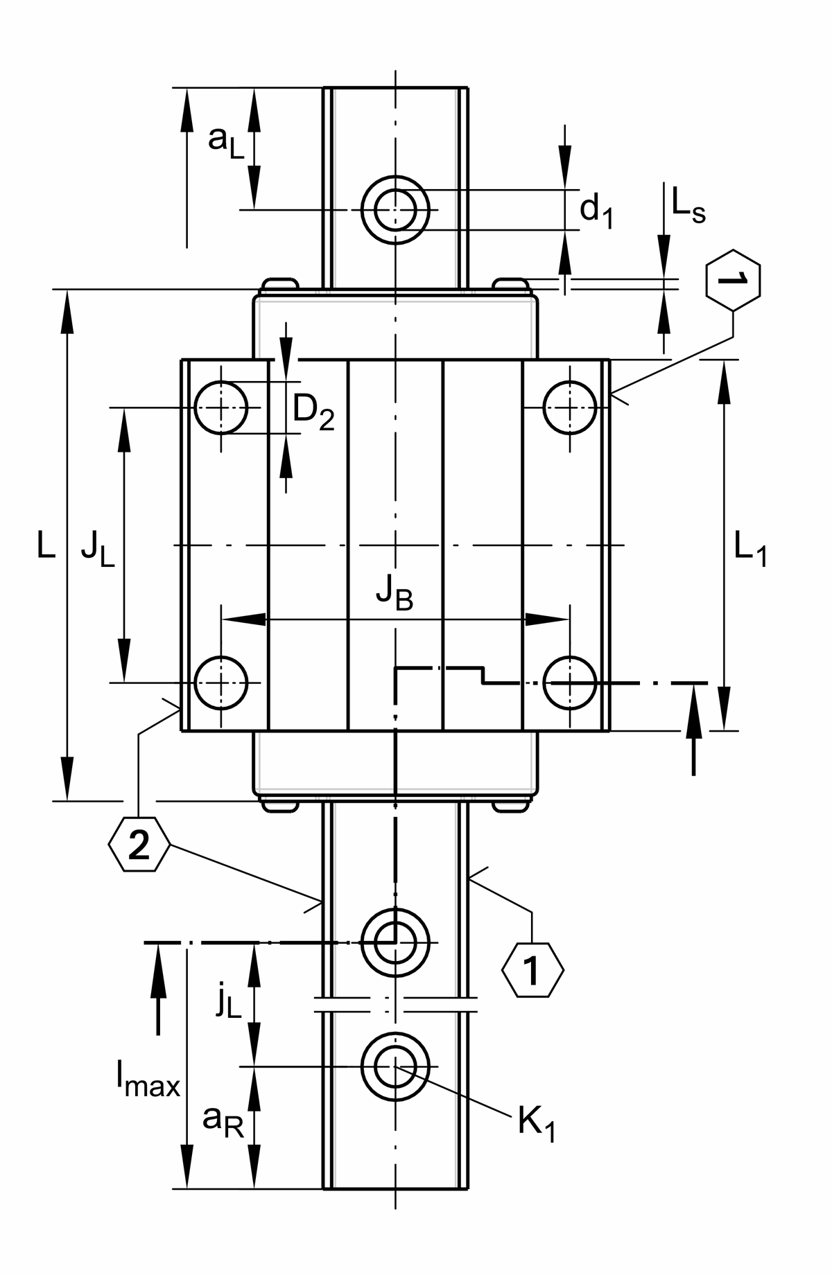
Mounting dimensions

VMKB_065

KWVE Material name

A1

33 mm

JB

82 mm

b

34 mm width rail

A2

9 mm

L1

80 mm

LS

1.65 mm

JL

50 mm

H1

6.7 mm

H4

14.3 mm

H5

6.75 mm

T5

13 mm

K3

M8 fixing screws below (DIN ISO 4762-12.9)

K3MA

41 Nm maximum tightening torque

D2

8.6 mm

A3

12.3 mm position lubrication connector

G3

M6 lubrication connector

tG3

7 mm maximum permissible screw depth for lubrication connectors

A4

11 mm position lubrication connector

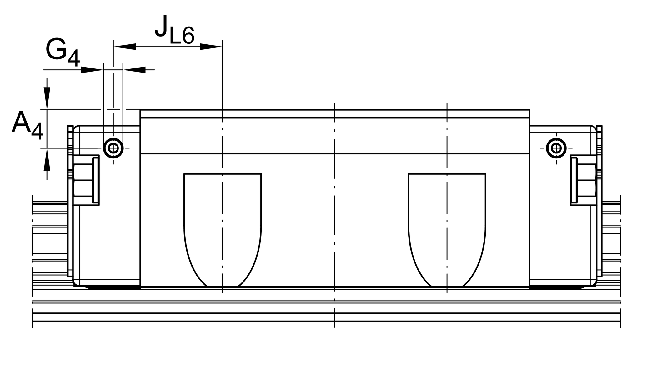
G4

M6 mm lubrication connector

tG4

7 mm maximum permissible screw depth for lubrication connectors

JL6

22 mm position lubrication connector