Main Dimensions & Performance Data

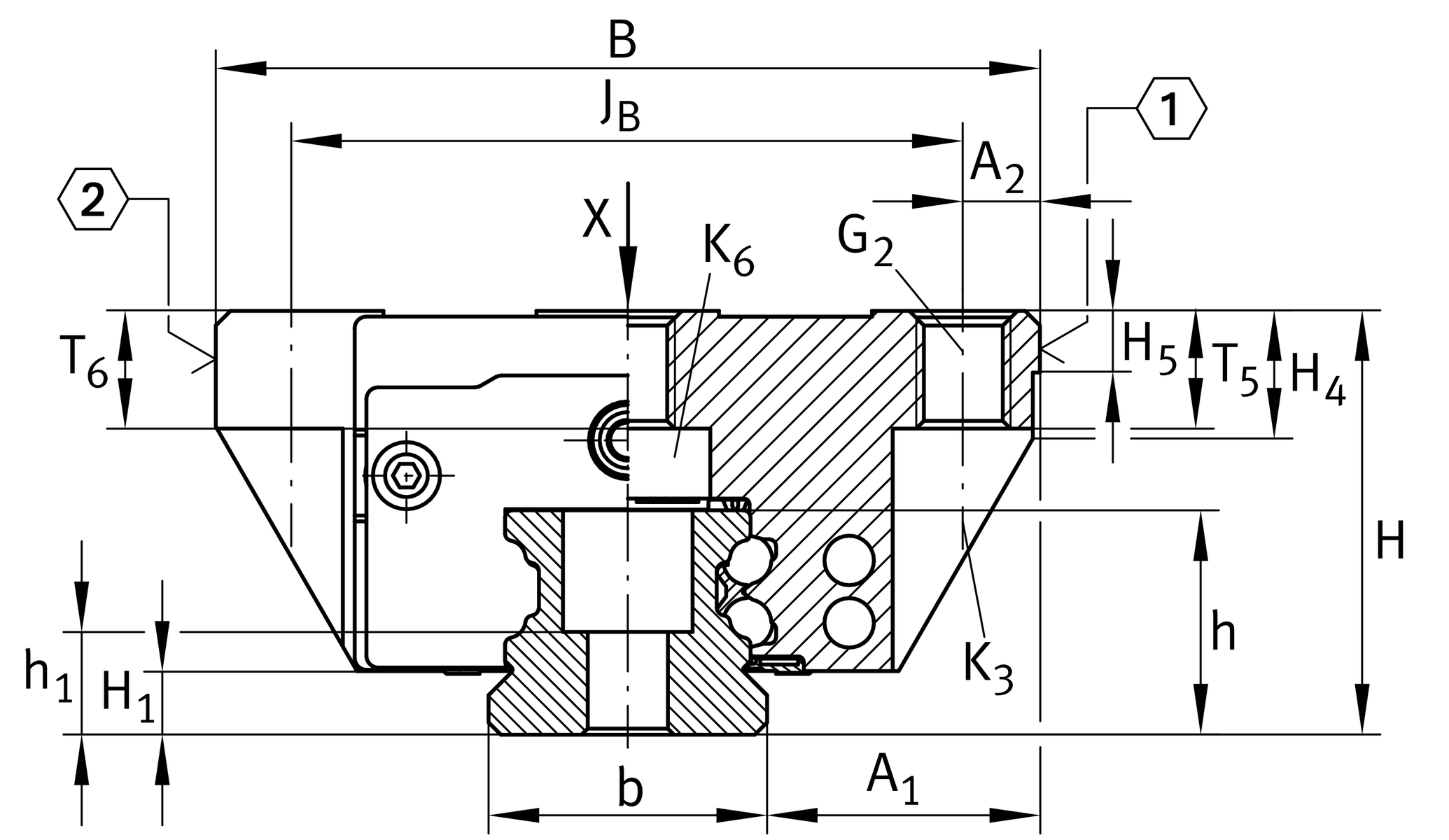
B

63 mm

L

71.4 mm

H

30 mm

Cr

13100 N

Cor

27000 N

Weight

0.44 g

Mounting dimensions

VMKB_065

KWVE Material name

A1

21.5 mm

JB

53 mm

b

20 mm width rail

A2

5 mm

L1

50.4 mm

LS

1.3 mm

JL

40 mm

JLZ

35 mm

H1

4.5 mm

H4

11 mm

H5

5.25 mm

T5

10 mm

T6

7.5 mm

G2

M6 fixing screws below (DIN ISO 4762-12.9)

G2MA

10 Nm maximum tightening torque

K3

M5 fixing screws below (DIN ISO 4762-12.9)

K3MA

10 Nm maximum tightening torque

K6

M5 fixing screws below (DIN ISO4762-12.9)

K6MA

10 Nm maximum tightening torque

D2

5.5 mm

A3

7.7 mm position lubrication connector

G3

M5 lubrication connector

tG3

7 mm maximum permissible screw depth for lubrication connectors

A4

4.6 mm position lubrication connector

G4

M5 mm lubrication connector

tG4

5.5 mm maximum permissible screw depth for lubrication connectors

JL6

9.4 mm position lubrication connector