Japan
Contact
Search Bearing
Engineering Tools
Catalogs & Literature
Model query
Menu
About
CSR
PORTFOLIO
Engineered Bearings
MARKETS
INVESTORS
CAREERS
WORK THAT MATTERS
OUR CULTURE
BENEFITS
NEWS
Home
>
Model
>
Rail slider
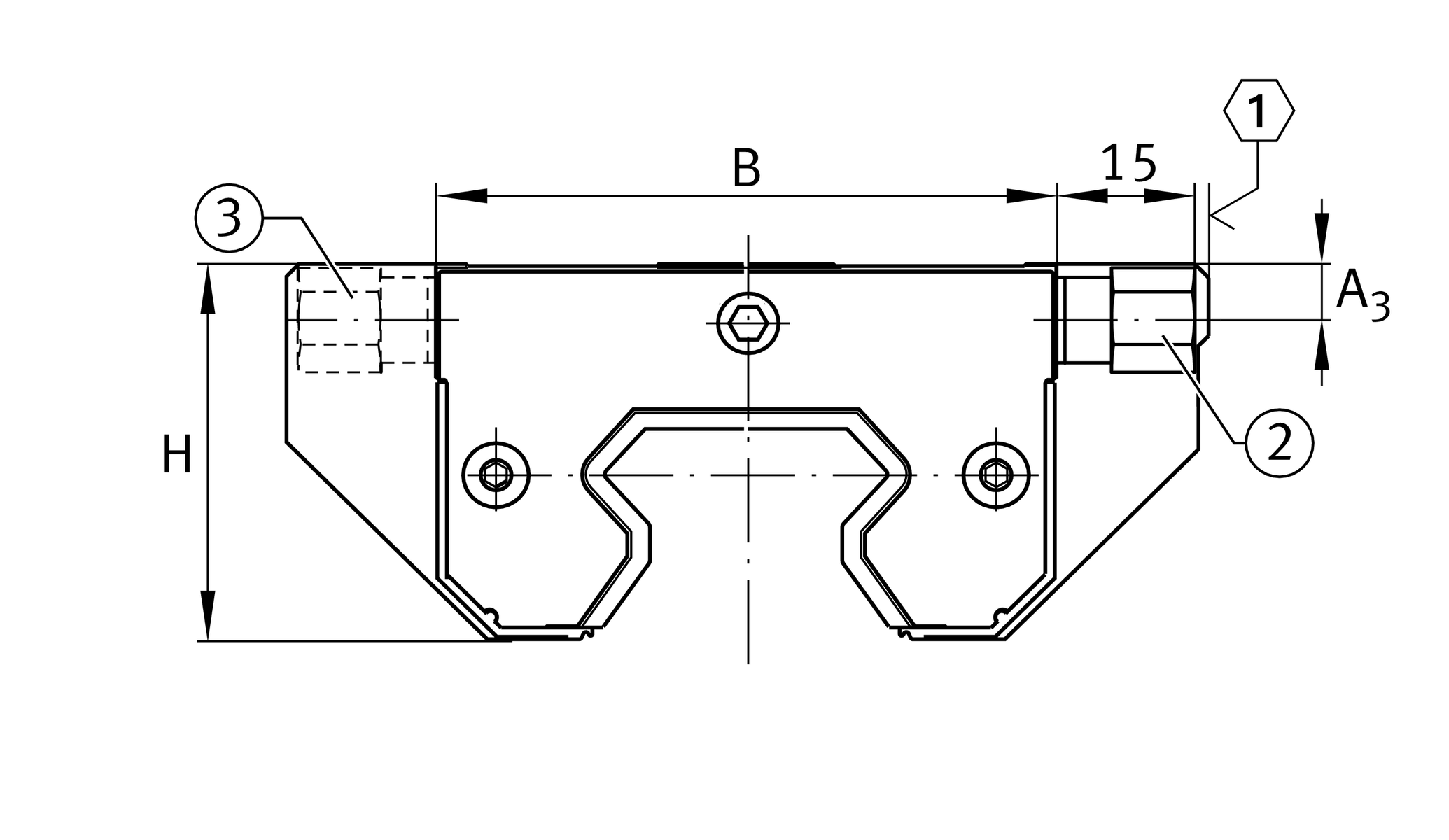
KIT.RWU35-E-A-OS-531 Accessory Set
Request Information
Return to list
VIEW CAD DRAWING
View structure diagram
View structure diagram
View structure diagram
DOWNLOADS
Main Dimensions & Performance Data
Weight
218 g
K1
M4x55
LS
4 mm
MA
0.5 Nm
S
37.2
Mounting dimensions
B
66.7 mm
width
A3
6.15 mm
mounting dimension
H
41.3 mm
height
LM
54.6 mm
dimension
JL5
48.7 mm
mounting dimension
JL5
61.7 mm
mounting dimension for long carriage