Japan
Contact
Search Bearing
Engineering Tools
Catalogs & Literature
Model query
Menu
About
CSR
PORTFOLIO
Engineered Bearings
MARKETS
INVESTORS
CAREERS
WORK THAT MATTERS
OUR CULTURE
BENEFITS
NEWS
Home
>
Model
>
Needle roller bearing
NKIB5901-XL Needle roller angular contact ball bearing
Request Information
Return to list
VIEW CAD DRAWING
View structure diagram
View structure diagram
DOWNLOADS
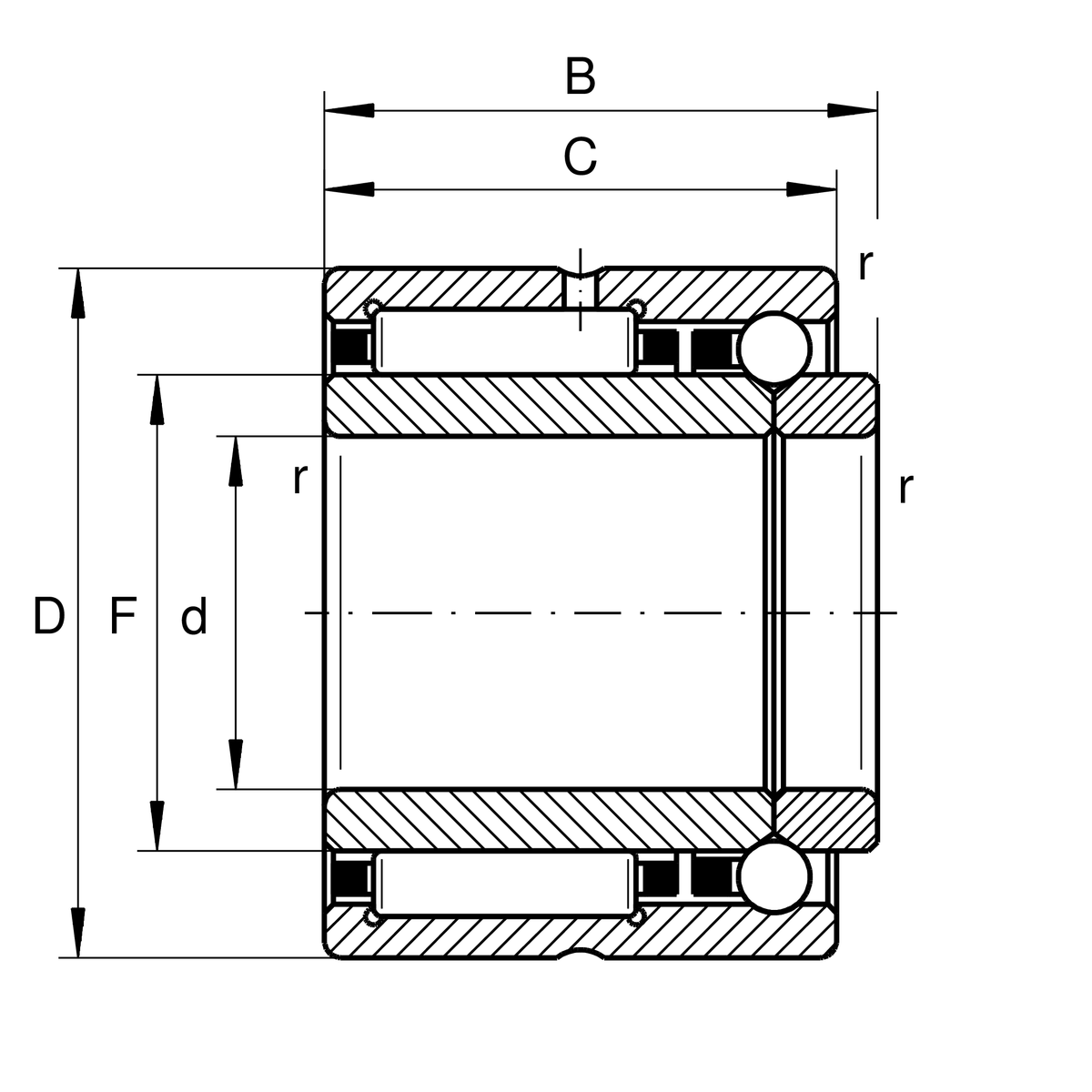
Main Dimensions & Performance Data
d
12 mm
D
24 mm
B
17.5 mm
Cr
8600 N
Cor
8300 N
Cur
1660 N
Ca
2700 N
Coa
3450 N
Cua
1660 N
Reference speed
21000 rpm
Limiting speed
23600 rpm
Mounting dimensions
F
16 mm
Inner ring raceway diameter
C
16 mm
Outer ring width
r min
0.3 mm
Minimum chamfer size
Temperature range
T min
-30 °C
Minimum operating temperature
T max
120 °C
Maximum operating temperature