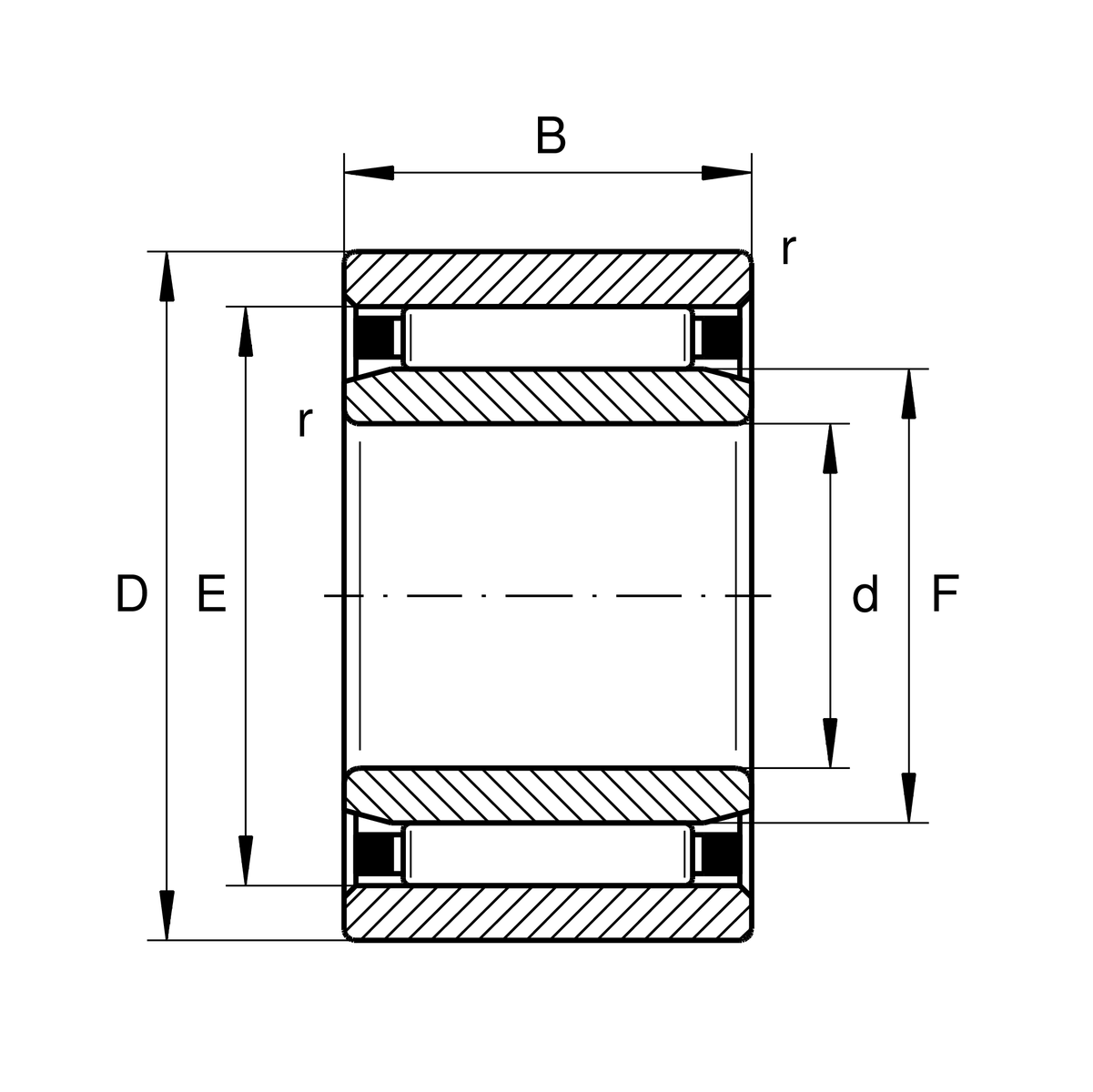
Main Dimensions & Performance Data

d

17 mm

D

30 mm

B

13 mm

Cr

11800 N

Cor

15900 N

Cur

2600 N

Reference speed

11100 rpm

Limiting speed

20400 rpm

Mounting dimensions

da

21.5 mm Installation size

F

22 mm Inner ring raceway diameter

E

26 mm Outer ring raceway diameter

Db

22.4 mm Axial Guide NK / Housing Shoulder Diameter

r min

0.3 mm Minimum chamfer size

db

25.6 mm Axial guide NK/shaft shoulder diameter

s

0.5 mm Axial displacement

Da

26.3 mm Outer ring shoulder diameter

ra max

0.3 mm Maximum pocket radius

Temperature range

T min

-30 °C Minimum operating temperature

T max

120 °C Maximum operating temperature