Main Dimensions & Performance Data

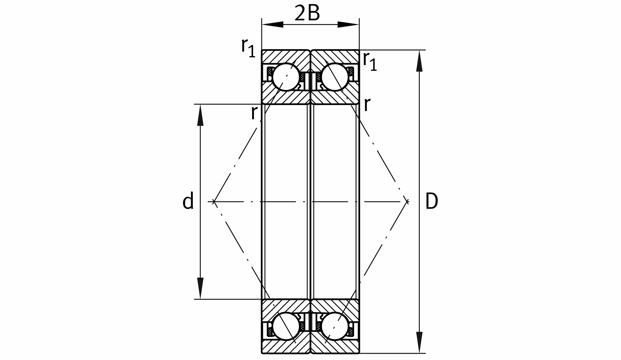
d

180 mm

D

280 mm

Mounting dimensions

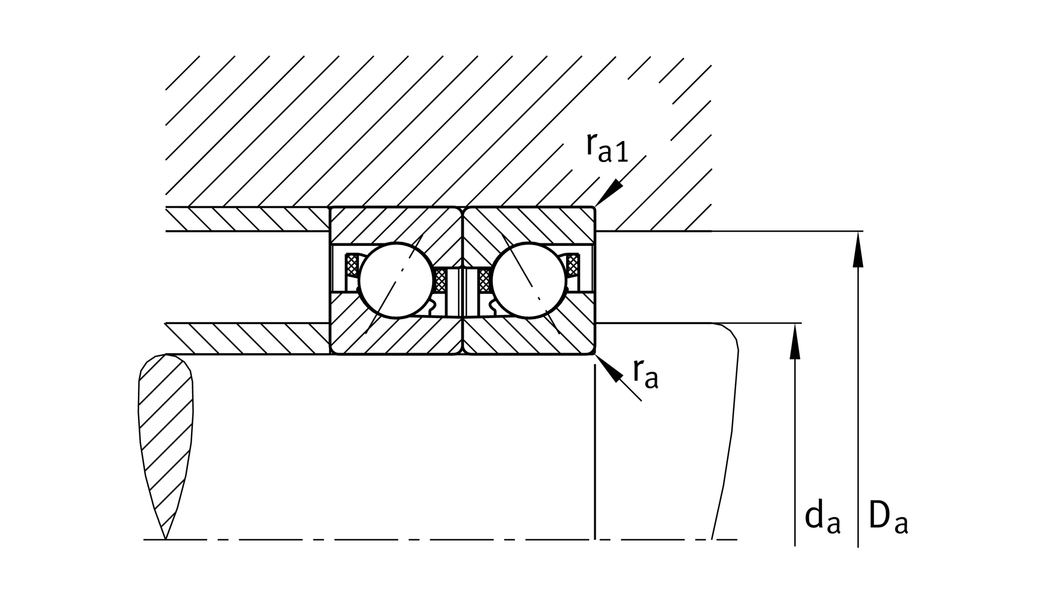
da

204 mm Shaft shoulder diameter

r min

1.1 mm Minimum chamfer size

da

h12 Shaft shoulder clearance diameter

r1

1.1 mm Minimum chamfer size

da

255.5 mm Outer ring shoulder diameter

α0

40 ° Contact angle

Da

H12 Outer ring clearance shoulder diameter

ra max

1.1 mm Maximum pocket radius

ra1

1.1 mm Undercut radius ra1 max

Temperature range

T min

-30 °C Minimum operating temperature

T max

100 °C Maximum operating temperature