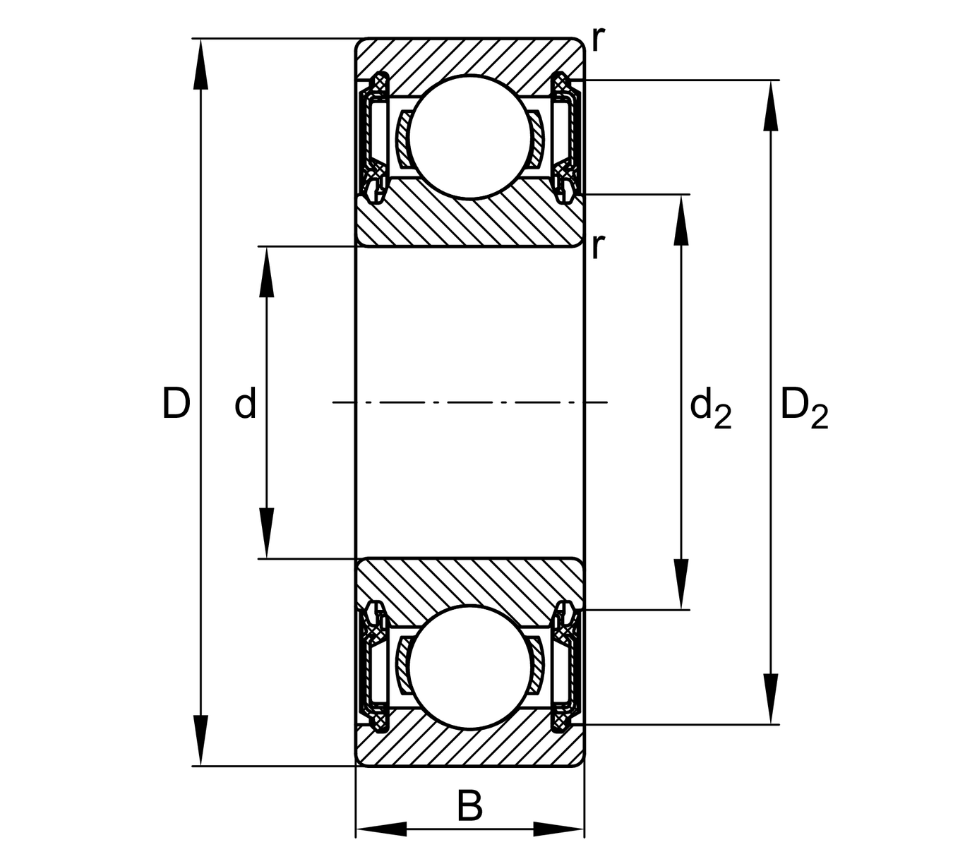
Main Dimensions & Performance Data

d

25 mm

D

62 mm

B

17 mm

Cr

22410 N

Cor

11510 N

Cur

710 N

Limiting speed

7400 rpm

Mounting dimensions

da min

32 mm Minimum diameter of shaft shoulder

rmin

1.1 mm Minimum chamfer size

Da max

55 mm Maximum diameter of bearing block shoulder

ra max

1.1 mm Maximum cavity radius

D2

54 mm Inner diameter from recess to outer ring

d2

34 mm Thrust washer diameter

Temperature range

Tmin

-20 °C Minimum operating temperature

Tmax

120 °C Maximum operating temperature

Calculation coefficient

f0

12.4 Calculation coefficient