Main Dimensions & Performance Data

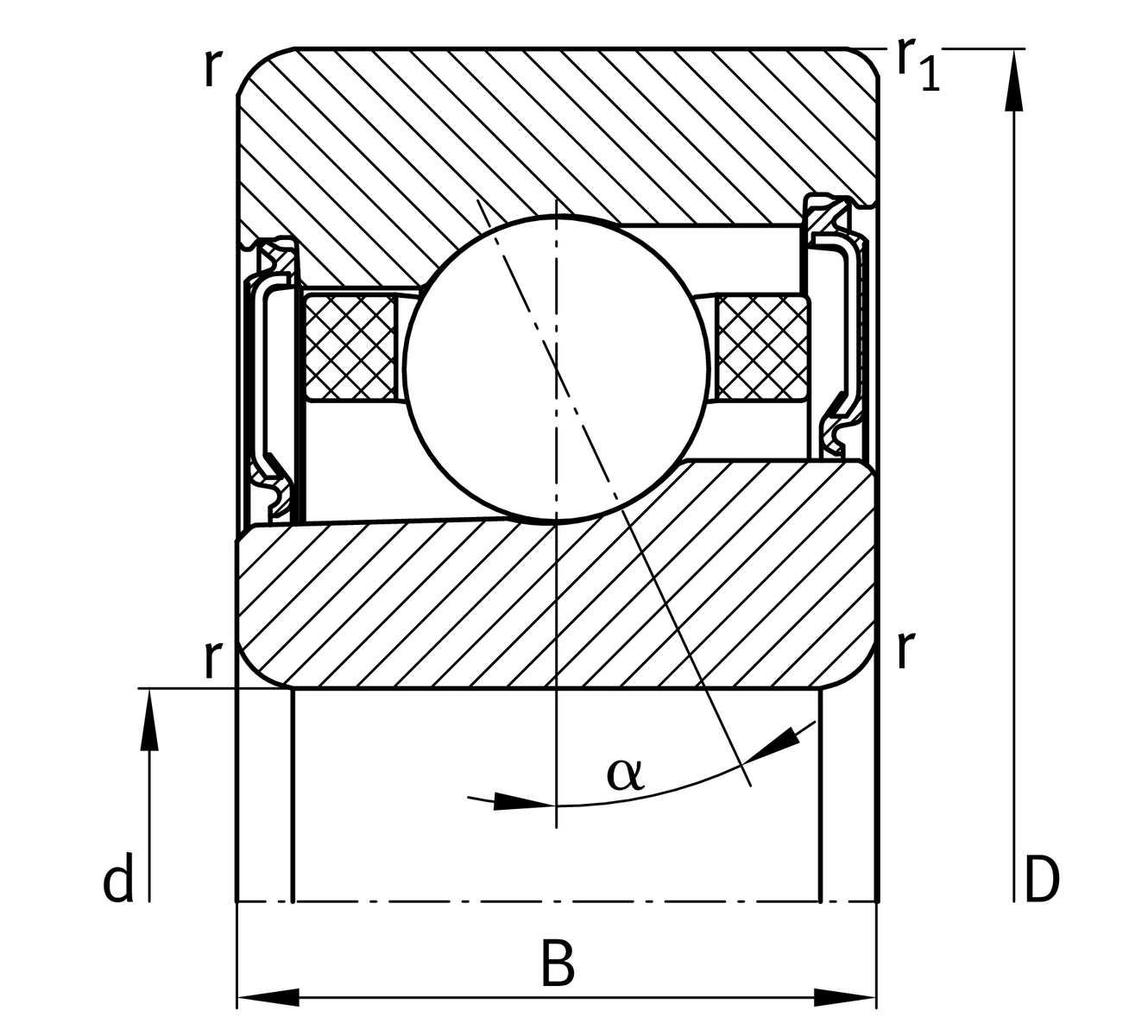
d

130 mm

D

200 mm

B

33 mm

Cr

132000 N

Cor

63000 N

Cur

2500 N

Grease lubrication speed

12200 rpm

Mounting dimensions

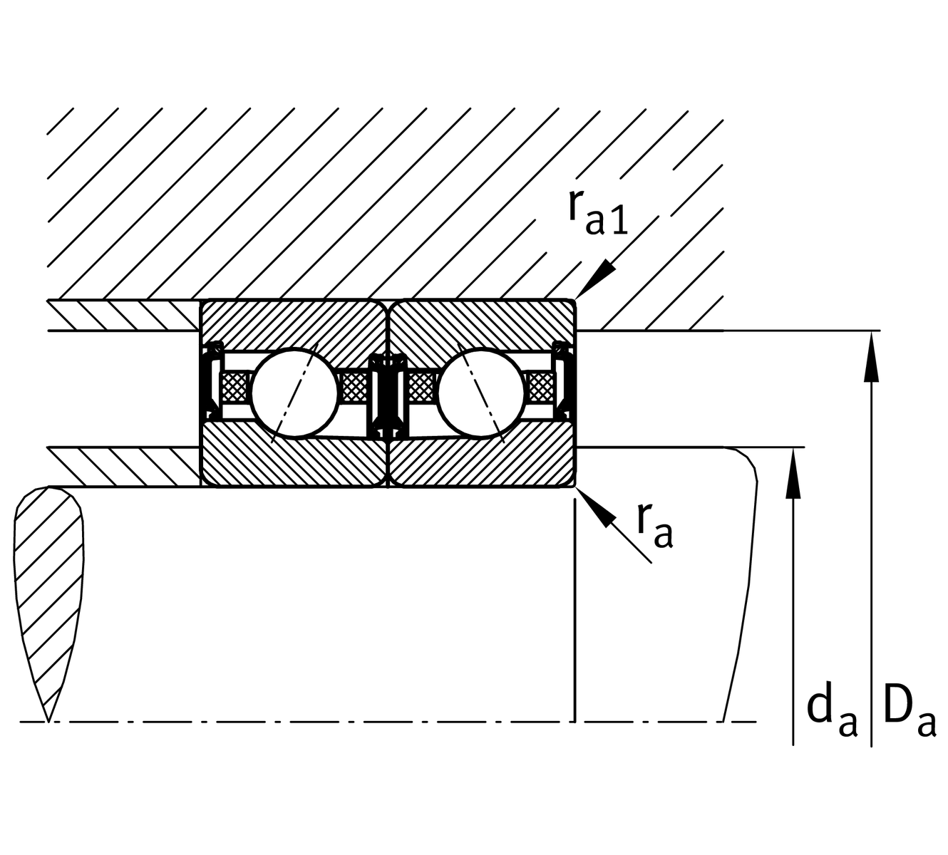
da

142 mm Shaft shoulder diameter

rmin

2 mm Minimum chamfer size

dah

12 Shaft shoulder clearance diameter

r1min

1 mm Minimum chamfer size

α

25 ° contact angle

D a

189 mm Diameter of outer ring shoulder

DaH

12 Outer ring clearance shoulder diameter

ra max

2 mm Maximum cavity radius

ra1 max

1 mm Maximum cavity radius

E tk min

157.4 mm Minimum injection pitch diameter

E tk max

161.3 mm Maximum injection pitch diameter

E tk1 min

152.6 mm Minimum injection pitch diameter

E tk1 max

161.3 mm Maximum injection pitch diameter

a

55 Top distance of pressure cone

Temperature range

T min

-30 °C Minimum operating temperature

T max

100 °C Maximum operating temperature