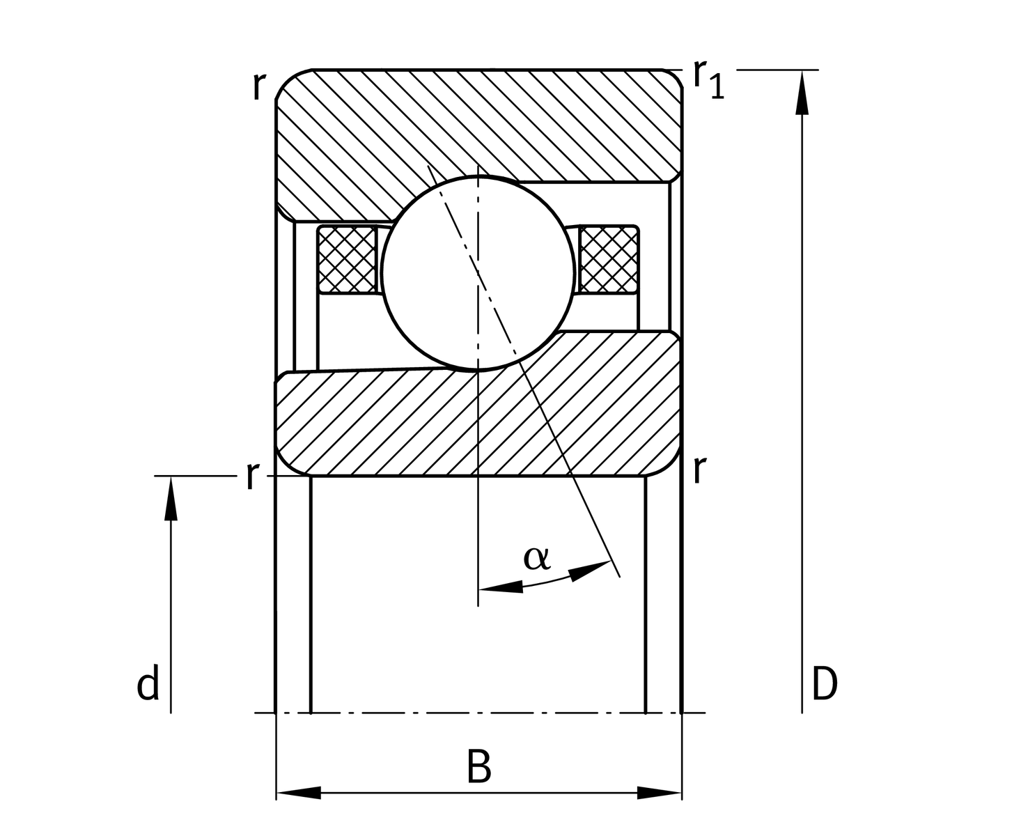
Main Dimensions & Performance Data

d

130 mm

D

200 mm

B

33 mm

Cr

58000 N

Cor

49500 N

Cur

4100 N

Grease lubrication speed

10000 rpm

Oil lubrication speed

15200 rpm

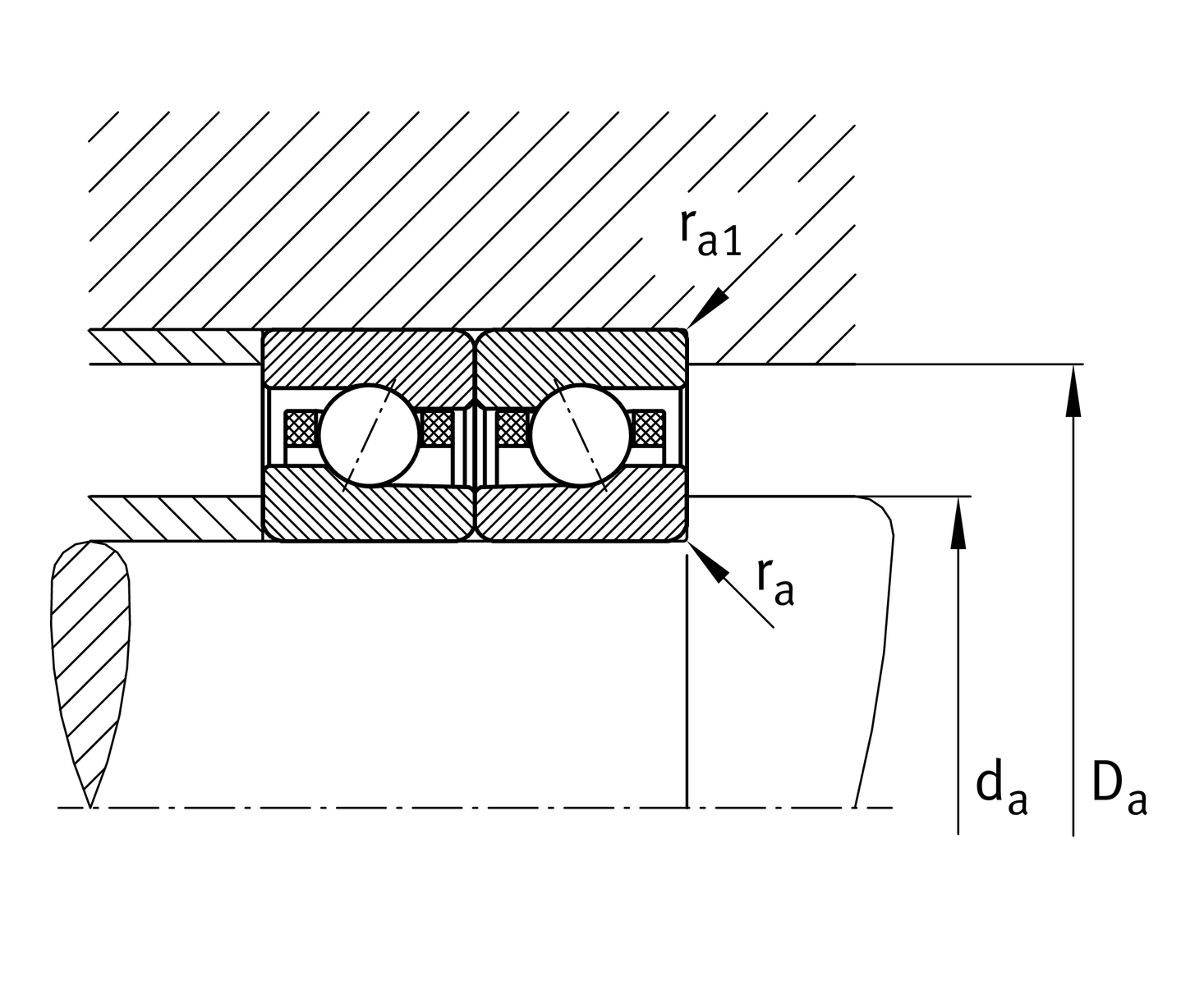
Mounting dimensions

da

142 mm Shaft shoulder diameter

rmin

2 mm Minimum chamfer size

dah

12 Shaft shoulder clearance diameter

r1min

1 mm Minimum chamfer size

α

25 ° contact angle

D a

189 mm Diameter of outer ring shoulder

DaH

12 Outer ring clearance shoulder diameter

ra max

2 mm Maximum cavity radius

ra1 max

1 mm Maximum cavity radius

a

55 Top distance of pressure cone

Temperature range

T min

-30 °C Minimum operating temperature

T max

80 °C Maximum operating temperature