Main Dimensions & Performance Data

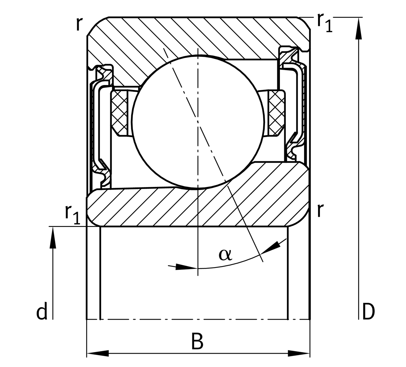
d

120 mm

D

165 mm

B

22 mm

Cr

113000 N

Cor

44500 N

Cur

1900 N

Grease lubrication speed

14100 rpm

Mounting dimensions

da

128 mm Shaft shoulder diameter

rmin

1.1 mm Minimum chamfer size

dah

12 Shaft shoulder clearance diameter

r1min

0.6 mm Minimum chamfer size

α

25 ° contact angle

D a

157 mm Diameter of outer ring shoulder

DaH

12 Outer ring clearance shoulder diameter

ra max

0.6 mm Maximum cavity radius

ra1 max

0.6 mm Maximum cavity radius

E tk min

134.9 mm Minimum injection pitch diameter

E tk max

138.8 mm Maximum injection pitch diameter

E tk1 min

130.1 mm Minimum injection pitch diameter

E tk1 max

138.8 mm Maximum injection pitch diameter

a

44.2 Top distance of pressure cone

Temperature range

T min

-30 °C Minimum operating temperature

T max

100 °C Maximum operating temperature