Main Dimensions & Performance Data

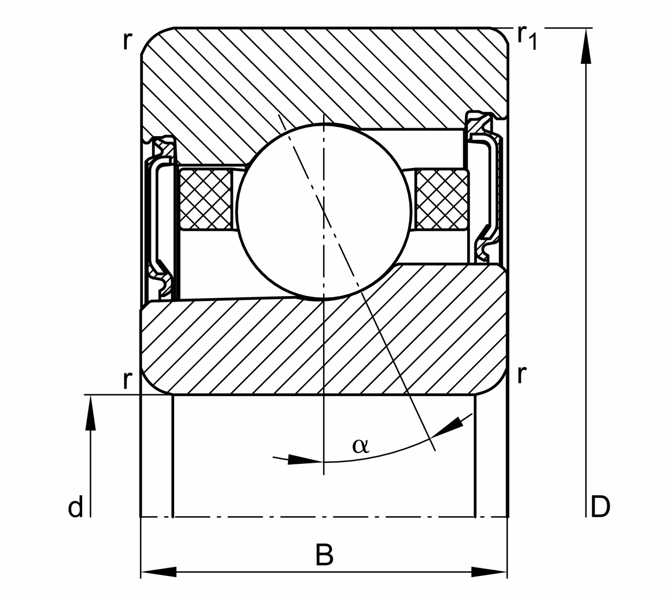
d

70 mm

D

110 mm

B

20 mm

Cr

26500 N

Cor

15700 N

Cur

1670 N

Grease lubrication speed

17300 rpm

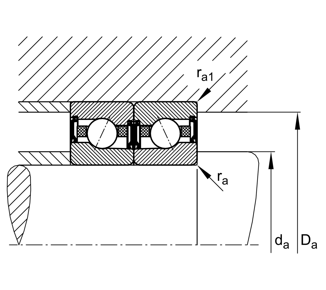
Mounting dimensions

da

77 mm Shaft shoulder diameter

rmin

1.1 mm Minimum chamfer size

dah

12 Shaft shoulder clearance diameter

r1min

0.6 mm Minimum chamfer size

α

25 ° contact angle

D a

102 mm Diameter of outer ring shoulder

DaH

12 Outer ring clearance shoulder diameter

ra max

1 mm Maximum cavity radius

ra1 max

0.6 mm Maximum cavity radius

a

31 Top distance of pressure cone

Temperature range

T min

-30 °C Minimum operating temperature

T max

80 °C Maximum operating temperature