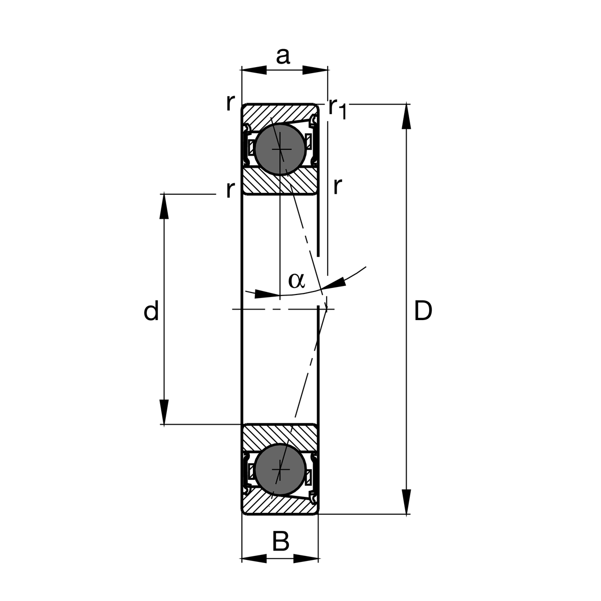
Main Dimensions & Performance Data

d

12 mm

D

28 mm

B

8 mm

Cr

3550 N

Cor

870 N

Cur

70 N

Grease lubrication speed

100000 rpm

Mounting dimensions

da

16.5 mm Shaft shoulder diameter

rmin

0.3 mm Minimum chamfer size

dah

12 Shaft shoulder clearance diameter

r1min

0.3 mm Minimum chamfer size

α

25 ° contact angle

D a

24.5 mm Diameter of outer ring shoulder

DaH

12 Outer ring clearance shoulder diameter

ra max

0.3 mm Maximum cavity radius

ra1 max

0.1 mm Maximum cavity radius

a

8.7 Top distance of pressure cone

Temperature range

T min

-30 °C Minimum operating temperature

T max

80 °C Maximum operating temperature